作為新能源電網掌控未來能源的趨勢,微電網將結合“互聯網+”占據能源領域新風向標。新能源微電網是電網配售側向社會主體放開的一種具體方式,符合電力體制改革的方向,可為新能源創造巨大發展空間。我國科研部門正加快腳步研發微電網相關技術,為我國微電網建設掃除障礙,北極星輸配電網小編為您整理了近期公布的微電網技術發明專利,以饗讀者:
1. 基于分布式發電的智能微電網系統能量控制裝置
專利:“基于分布式發電的智能微電網系統能量控制裝置”
申請人:哈爾濱電工儀表研究所。
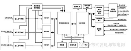
簡介:本發明提供了基于分布式發電單元的智能微電網系統能量控制裝置,它由交流輸入信號調理電路、數字鎖相頻率跟蹤電路、多通道同步數據采集電路、數字信號處理器、嵌入式微處理器、數據存儲器、時鐘電路、供電電源檢測電路、監測報警以及通訊電路組成。
本發明廣泛應用于智能配用電領域的智能微電網系統,完成微電網系統的能量管理,實現能量有效利用,同時在數據交換協議上采用IEC61970、IEC61968系列國際標準中的CIM/CIS,以及IEC62056系列國際標準中的DLMS/COSEM,實現與電力領域的能量管理系統、配電管理系統、用電信息采集系統等主站的數據通訊,完成信息互操作。

2. 一種能進行孤島檢測的用戶側微電網系統
專利:“一種能進行孤島檢測的用戶側微電網系統”
申請人:南方電網科學研究院、華南理工大學。
簡介:本發明提供了一種能進行孤島檢測的用戶側微電網系統,其包括:微電網母線、一次系統、二次系統;其中,微電網母線通過接觸器和斷路器與380V電網相連接;一次系統包括光伏發電系統、儲能系統、負荷設備;光伏發電系統和儲能系統通過接觸器和斷路器與微電網母線相連接;負荷設備通過接觸器和斷路器與光伏發電系統、或儲能系統、或電網相連接;二次系統為主控硬件可編程的微電網孤島檢測系統,其包括:中央處理器模塊,其接收光伏發電系統和儲能系統發送的孤島報警信號,根據接收的信號觸發指令;通信模塊,其將光伏發電系統和儲能系統發出的孤島報警信號傳輸至中央處理器模塊并下達通信控制指令;數字量輸入模塊;數字量輸出模塊;模擬量輸入模塊;模擬量輸出模塊。

3. 一種適用于微電網逆變器并聯運行控制方法
專利:“一種適用于微電網逆變器并聯運行控制方法”
申請人:國網四川省電力公司電力科學研究院。
簡介:本發明公開了一種適用于微電網逆變器并聯運行控制方法,所述方法包括:步驟1:在傳統下垂控制的電壓電流環中添加虛擬阻抗;步驟2:通過測量微電源輸出電壓和電流值,得到平均有功功率和平均無功功率;步驟3:得到微電源的輸出頻率和電壓;步驟4:將微電源輸出電壓、頻率和無功功率分別與相應參考值進行比較,得到各自差值;步驟5:得到電壓、頻率、無功功率的所需補償值;步驟6:得到補償后頻率和電壓;步驟7:把補償后頻率和電壓輸入到電壓電流雙環控制器,最終使頻率和電壓維持在額定值,無功功率得到合理分配,實現了改善了電能質量,無功功率的分配精度較高,無功功率的合理分配的技術效果。

4. 智能微電網控制裝置及控制方法
近日,國家知識產權局公布專利“智能微電網控制裝置及控制方法”,申請人為天津瑞能電氣有限公司。
本發明提供一種智能微電網控制裝置及控制方法,控制裝置,包括信號采集模塊、I/O模塊和控制模塊,所述控制模塊通過EtherCAT總線分別與所述信號采集模塊和I/O模塊連接;所述信號采集模塊包括傳感器、第二調理電路、AD轉換電路和DSP模塊,所述傳感器采集到的信號依次經所述第二調理電路、AD轉換電路和DSP模塊;所述I/O模塊包括繼電器、第一調理電路和第一單片機,所述繼電器通過第一調理電路與所述第一單片機連接;所述控制模塊連接多個接口。
由于本發明的DSP模塊會對微電網的狀況作出快速計算,因此本發明的響應速度有了極大的提高。

5. 一種微電網電源的優化規劃及評估方法
專利:“一種微電網電源的優化規劃及評估方法”
申請人:貴州電網公司電網規劃研究中心。
本發明公開了一種微電網電源的優化規劃及評估方法,在并網和孤島兩種運行方式下,分別建立了微電網內分布式電源優化規劃的數學模型,考慮了柴油發電機啟動和運行的約束條件,獲得科學的風電、光伏、燃料電池、柴油發電機和儲能的容量的優化配置,采用遺傳和粒子群算法對微電網內部的電源進行了優化規劃;并建立了包含穩定電源占比、總投資、儲能的時移電量、電源容量充裕度、柴油發電機最長運行時間的規劃方案評估方法,保證了規劃方法的正確性和規劃結果的合理性。

6. 一種多網絡混合的家庭微電網用能互動管理系統及方法
專利:“一種多網絡混合的家庭微電網用能互動管理系統及方法”
申請人:國家電網公司。
簡介:本發明公開了一種多網絡混合的家庭微電網用能互動管理系統及方法,基于多種網絡協議,選擇通信方式,實現各設備之間信息交互;利用智能監控設備進行監控;通過戶用網關與智能監控設備及電網進行網絡通信;管理服務器收集、分析智能監控設備信息,得出最優用能方案;具體包括家庭微電網用能管理終端、戶用網關、智能插座、分布式電源接入一體化裝置、溫、濕度傳感器、紅外傳感器、智能電表。
本發明實現了多網絡的融合互通、各設備之間信息交互、對家庭主要用能設備、分布式發電設備、房間環境信息的采集、與智能監控設備及電網信息服務平臺的網絡通信、用戶與電網有效互動、電能高效管理和清潔可再生能源充分利用的目的。
7. 一種改善微電網電壓質量的控制系統及控制方法
專利:“一種改善微電網電壓質量的控制系統及控制方法”
申請人:為西安理工大學。
簡介:本發明公開了一種改善微電網電壓質量的控制系統,包括一對背靠背接入配電網和微電網之間的變流器VSC1和VSC2,變流器VSC1和VSC2之間并聯有直流側電容C,變流器VSC1與配電網之間還依次連接有電抗器L1、電阻R1和開關斷路器CB1,電阻R1和開關斷路器CB1之間還連接電容C1后接地,變流器VSC2與微電網之間還依次連接有電抗器L2、電阻R2和開關斷路器CB2,電阻R2和開關斷路器CB2之間還連接電容C2后接地。
本發明還公開了改善微電網電壓質量的控制方法,本發明解決了現有技術中存在的由于微電網容量小、慣性小,在負載變化時帶來的頻率、電壓偏差的問題。
8. 基于多主從自適應的微電網控制方法
專利:“基于多主從自適應的微電網控制方法”
申請人:國電南京自動化股份有限公司。
簡介:本發明公開了一種基于多主從自適應的微電網控制方法,包括以下步驟:
1)控制微電網內具備功率調節能力的分布式電源均運行在V/f控制方式下;
2)將運行在V/f控制方式下的分布式電源建立起運行關系;
3)當其中一個運行在V/f控制方式下的分布式電作為主控電源時,其他的運行在V/f控制方式下的分布式電源進行PQ調節,采用對等控制方式在微電網系統內頻率變化時,通過調節有功、無功功率的輸出來反相微調微電網系統內的電壓幅值及頻率,以達到微電網系統的穩定和功率的平衡。
本發明有效的解決微電網控制系統對微電網內主控電源以及通訊的強依賴性,顯著的提高了微電網運行控制的穩定性,具有良好的應用前景。
責任編輯: 李穎